FX241.5P Fixed-Angle Polypropylene Rotor with Snap-on Lid- 24 x 1.5/2.2 mL, 14,800 rpm, 16,163 x g
Product No:A46475
Product Specifications
| Platform | Microfuge |
| Rotor Type | Fixed-Angle (General Purpose) |
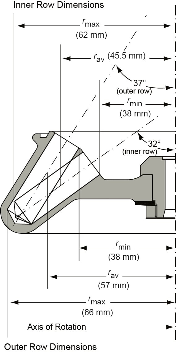
| Angle | 37/32 |
| Maximum RPM | 14,800 rpm |
| Max g-Force | 16163 xg |
| Adapters | 361247, 364690, 392294 |
| Number of Tubes | 11 x 40 mm, 24 x 1.5-2.2 mL |
| Nominal Capacity | 52.8mL |
| rMAX | 66 |
| rMIN | 30 |
| rAV | 52 mm (outer row), 48 mm (inner row) |
| Materials | Polypropylene |
| Package Quantity | 1 |